
De logische geometrie van Johannes Buridanus' modale achthoek (2017), p. 229
by Demey, Lorenz; Steinkrüger, Philipp

Copyright according to our policy
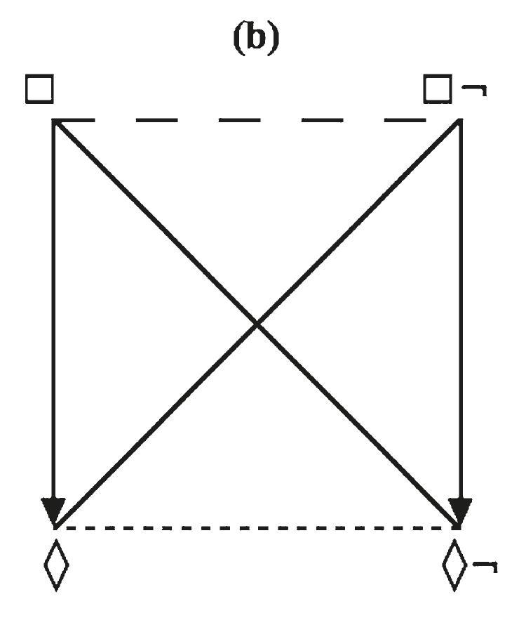
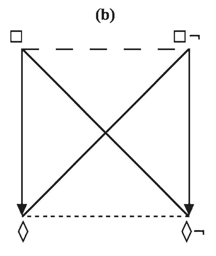
- Aristotelian family
- Classical Sigma-2
- Boolean complexity
- 3
- Number of labels per vertex (at most)
- 1
- Uniqueness of the vertices up to logical equivalence
- Yes
- Errors in the diagram
- No
- Shape
- Square (regular)
- Colinearity range
- 0
- Coplanarity range
- 0
- Cospatiality range
- 0
- Representation of contradiction
- By central symmetry
Logic
Geometry
- Conceptual info
- No
- Mnemonic support (AEIO, purpurea ...)
- No
- Form
- none
- Label type
- symbolic
- Symbolic field
- logic
- Contains partial formulas or symbols
- Yes
- Logical system
- modal logic
Vertex description
Edge description
- Diagram is colored
- No
- Diagram is embellished
- No
- Tags
- Leuven